Агрегат готовой смеси УДМ-90.82.00.000 ДС-185-80
Артикул: УДМ-90.82.00.000
Объем: 147.0 м3
Модельный ряд: агрегат готовой смеси УДМ-90.82.00.000 со скиповыми путями. Предназначен - прием, накопление и хранение материала в ожидании выгрузки в автотранспорт готовой асфальтобетонной смеси. Совместим с АБЗ следующих типов: ДС-185, ДС-117, ДС-158 и их аналогами.
Применяется при модернизации АБЗ марки ДС-117-2К, ДС-158, ДС-185 и многих других моделей абз.
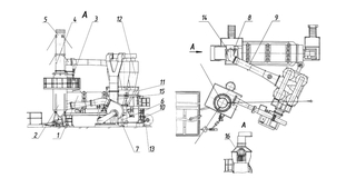
Технические характеристики агрегата готовой смеси:
- Размеры бункера (ДхШхВ) - 6000х2300х10600 мм. Длина со скиповыми путями – 17880 мм.
- Затворы с подогревом и пневмоприводом.
- Количество бункеров - 2 шт.
- Вместимость бункеров:
- Первый бункер- 45 тонн;
- Второй бункер – 55 тонн.
- Вместимость скипа – не менее 1 тонны.
- Размеры проезда под бункером(ВхШ) – 3,6х4,95 м.
Отличительные особенности агрегата готовой смеси:
- Ликвидирует простой автотранспорта в ожидании приготовления асфальтобетонной смеси.
- Исключает остановку работы АБЗ при невозможности отгрузки готовой смеси на автотранспорт длительностью до 1,5 часов (накопление готовой смеси в агрегате).
- Снижает количество необходимых запусков-остановок АСУ, чем обеспечивает щадящий режим работы битумного хозяйства, сушильного барабана, топочного агрегата, газоочистного оборудования установки.
Технологические особенности агрегата готовой смеси:
- Загрузка смеси в бункер происходит скиповым подъемником как в ручном, так и в автоматическом режиме.
- Нижняя часть приемного бункера оборудована электрическим подогревом, бункер-накопитель смеси изолирован от теплопотерь.
- Температурные датчики, расположенные в бункере, позволяют контролировать температуру готовой смеси.
- Выгрузка асфальтобетонной смеси в автотранспорт возможна как из бункера-накопителя, так и непосредственно из смесителя.
- Наличие промежуточного бункера выгрузки бракованной смеси.
- Скип с самоочищающимся затвором.
Производитель: завод "УфаДормаш".







