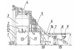
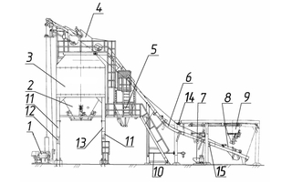
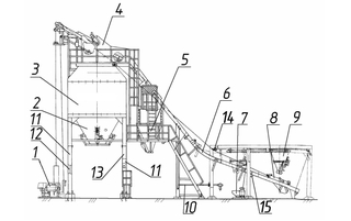
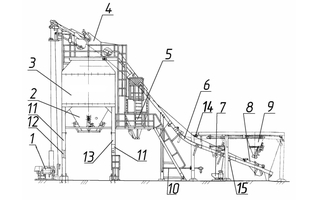
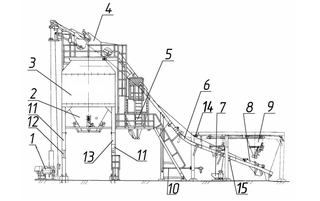
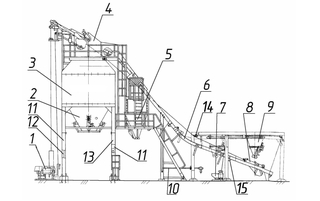
Опора ДС-168.82.00.160 ДС-185
Артикул: ДС-168.82.00.160
Объем: 0.5 м3
Масса: 142.0 кг
Модельный ряд: опора ДС-168.82.00.160 на агрегат готовой смеси.
Технические характеристики опоры:
- Количество изделий на АБЗ ДС-185 - 2 шт
- Позиция №11 на чертеже.
Вы можете купить опору ДС-168.82.00.160 по доступной цене в офисах "УфаДорМаш" в городах: Москва (офис в г. Мытищи), Уфа, Ростов-на-Дону, Хабаровск, Иркутск. Опора ДС-168.82.00.160: на данной странице вы можете ознакомиться с описанием, фото, техническими характеристиками.
