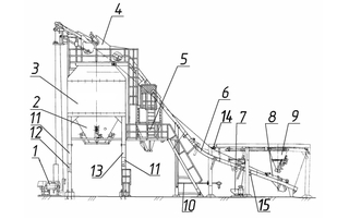
Блок нижний ДС-185.52.51.000 ДС-185
Артикул: ДС-185.52.51.000
Объем: 34.0 м3
Масса: 3110.0 кг
Модельный ряд: блок нижний ДС-185.52.51.000 на агрегат готовой смеси ДС-185.52.00.000Ч.
Технические характеристики блока нижнего:
- Количество изделий на АБЗ ДС-185 - 1 шт
- Позиция №2 на чертеже
Производитель: производится предприятием-партнером по заказу завода "УфаДорМаш".

